Qoʻshimcha funksionallar
-
Tungi ko‘rinish
Texnologiya yangiliklari
Texnologiya yangiliklari
17:01 / 23.11.2015
Xitoyda jonivorlarni klonlashtiradigan yirik ferma ishga tushadi
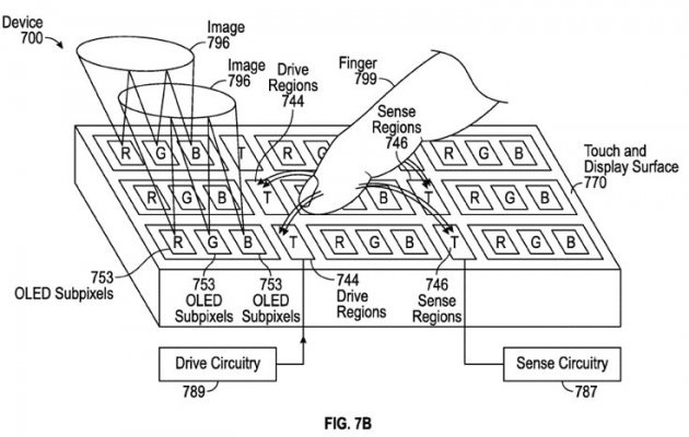
16:59 / 23.11.2015
Apple barmoq izi skaneriga ega OLED-dislpeyni patentlamoqchi
16:09 / 22.11.2015
AQShda 5ta giperkar poyga yo‘lida taqqoslab ko‘rildi
16:30 / 21.11.2015
Hozirda qimmatbaho bo‘lgan 10ta qadimiy avtomobil
08:19 / 21.11.2015
Tesla xavfsizlik kamaridagi nosozlik tufayli 90 mingta mashinani ortga chaqirtirib olmoqda
00:13 / 21.11.2015
Apple do‘konlarida stiluslar o‘g‘irlab ketilmoqda
19:06 / 20.11.2015
Panasonic real vaqtda nutqni uchta tilga tarjima qiluvchi megafonni taqdim qildi
18:08 / 20.11.2015
UMS`ning «Millionlar yaqin!» aksiyasi: 14 abonent katta pul sovrinlariga ega bo‘ldi
17:47 / 20.11.2015
Buyuk Britaniyada 5G tarmog‘i tekshirila boshlandi
17:19 / 20.11.2015
Samsung yorug‘lik kam bo‘lgan joyda ham sifatli suratlar olish texnologiyasini yaratdi
15:13 / 20.11.2015
LG smart televizorlari egalari GOOGLE-PLAY xizmatidagi film va seriallar tomosha qilish imkoniga ega bo‘lishdi
14:58 / 20.11.2015
Square to‘lov tizimi Twitter asoschisini 1 mlrd dollarga boyitdi
14:14 / 20.11.2015
BMW yangi ixcham sedanning namunasini ko‘rsatdi
14:09 / 20.11.2015
Pepsi kompaniyasi ilk smartfonini taqdim etdi
12:31 / 20.11.2015