Qoʻshimcha funksionallar
-
Tungi ko‘rinish
Texnologiya yangiliklari
Texnologiya yangiliklari
13:08 / 06.07.2015
UzMobile Toshkentda yangi numeratsiyani ishga tushirdi
21:37 / 04.07.2015
Samsung “puch dasturlar” uchun sudlanmoqda
20:06 / 04.07.2015
Qozog‘istonning Jahon savdo tashkilotiga a'zo bo‘lishi mamlakatdagi telekommunikatsion xizmatlar narxining kamayishiga olib keladi
16:57 / 04.07.2015
Sariq chaqaga sotilgan dunyoning 10 ta qoyilmaqom ixtirosi
14:46 / 04.07.2015
Casio "aqlli soatlar" ishlab chiqaradi
10:10 / 04.07.2015
”Beeline” yuzlab insonlarni aloqa sifatini o‘lchashga jalb qiladi
08:57 / 04.07.2015
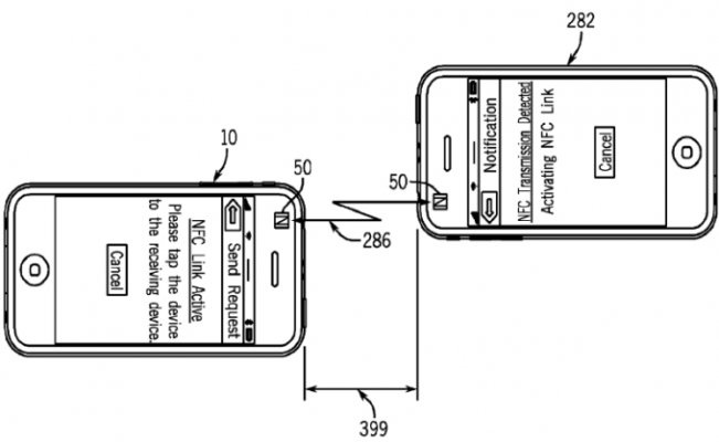
Apple kompaniyasi iPhone smartfonlari o‘rtasida mablag‘larni o‘tkazish texnologiyasini patentlashtirdi
22:12 / 03.07.2015
Solar Impulse 2 samolyoti quyosh batareyalarida parvoz qilish bo‘yicha rekord o‘rnatdi
18:43 / 03.07.2015
Xiaomi Apple’ga taqlid qiluvchi kompaniyalar tufayli xarid rejalaridan ortda qolmoqda
18:39 / 03.07.2015
Facebook videoda reklama joylashtirishni boshlaydi
18:37 / 03.07.2015
Londonlik dizayner dunyodagi eng kichik portfolioni yaratdi
14:55 / 03.07.2015
Buyuk Britaniyaning eng yirik mobil operatori mijozlar shikoyatli tufayli 1 mln funt sterlingga jarimaga tortildi
12:06 / 03.07.2015
Garmin velosipedchilar uchun orqadan keluvchi mashina haqida ogohlantiruvchi radar yaratdi
07:43 / 03.07.2015
Instagram`da 38 foiz bot va nofaol foydalanuvchilar borligi aniqlandi
06:55 / 03.07.2015